单张4090跑到30fps,范浩强团队让VLA实时跑起来了

VLA(Visual-Language-Action)大模型到底能跑多快?在这篇 RT-VLA(Real-time VLA)论文中,来自 Dexmal 原力灵机(由范浩强等人联合创立的具身智能公司)的研究者公布了一个反直觉的发现:它可以非常快!

具体而言,对于常用的 Pi0 级别的模型(30 亿参数),在单张消费级显卡 RTX 4090 上最快可以跑到 30fps。这和大家对于 VLA 模型动辄要几十甚至上百毫秒的刻板印象形成鲜明对比。

为实现这点,研究者深入分析 Pi0 的模型结构,通过一系列优化把用时从开始的 100+ ms 进行数倍缩减(针对双视角,甚至已经达到 27ms),显著强于 openpi 里采用的基于 jax 的自动优化的结果。

此外,研究者基于现有结果探讨了未来的“实时”运行的 VLA 结构,设计出一个有潜力最高实现 480Hz 闭环控制的算法框架。目前,优化后的代码已在 GitHub 开源,全部实现均打包为一个只依赖于 torch 和 triton 的单一文件,大家可在自己的项目里 “开箱即用”。这是 Dexmal 原力灵机开源一站式 VLA 工具箱 Dexbotic 之后的又一开源代码工作。

  • 论文名称:Running VLAs at Real-time Speed

  • 论文链接:https://arxiv.org/abs/2510.26742

  • GitHub:https://github.com/Dexmal/realtime-vla

解决什么痛点?

现在机器人 VLA 大模型动辄几十亿参数,虽然有不错的泛化能力,但是延迟问题总是绕不过。即使是在高端推理显卡上,高达百毫秒级别的推理时间让机器人的实时控制困难重重,就像一个人看见东西后要愣一下才做出动作。

如果我们能够把模型运行到和相机一样快的频率(25fps、30fps 甚至 50fps),那么就可以在完全不丢帧的情况下处理视觉信息,让 VLA 模型的实时运行成为可能。

如何实现?

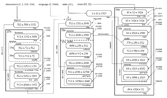
Pi0 模型计算流程图示,它主要包括 1 个视觉编码器,1 个编码器和 1 个解码器;所有这些又可进一步分解为一系列的矩阵乘法和标量运算。

对于 Transformer 这类模型,当它进行单次推理(比如只处理一个问题或一张图片)时,其内部计算过程实际上是由一长串零碎的 “矩阵计算小任务” 组成;而像 Pi0 这种采用 “流匹配” 技术的模型,需要反复迭代十次才能得出最终结果,每一次迭代本身就包含几十层计算。这样算下来,整个推理过程涉及数百层、上千个操作。任务如此零碎,让计算优化变得异常困难。

本文研究者通过深入分析模型推理过程中的计算问题,融合和并行优化每一个计算步骤,清除了推理方面的大部分障碍,再加上其他方面的优化,最终把整个 VLA 模型跑进了所需的时间之内。

这就像给了 VLA 大模型一份 “高性能 AI 大脑调校指南” ;它通过一系列深入的底层优化,把笨重的 AI 大模型变成能跑实时任务的 “闪电侠”,并在此基础上,构想出一个能同时具备条件反射、视觉反馈和智能思考的下一代机器人控制系统。

效果展示

上图所示的任务是抓取一支自由下落的笔。 这个任务对反应时间的要求极为苛刻。机器人观察到笔开始下落后,必须在极短的时间内做出反应并在正确的时间启动抓取动作,快一点或者慢一点都会导致任务失败。

最终呈现的效果是 从 “看到笔” 到 “执行抓取” 的端到端总反应时间被缩短到 200 毫秒以内,这大概对应到一个 30 cm 左右的最短下落距离。而人类在这个任务上的一般表现也不过如此。

下一步规划

基于上述取得的成果,研究者设计了一套完整的、围绕 GPU 打造的机器人控制框架,它能驱动 VLA 大模型,像 “直播” 一样对机器人进行流式的实时控制,让机器人拥有 3 种不同速度的 “反应神经”:

  • 超快反应(480Hz):处理来自力传感器等高速信号。就像你的手一碰到烫的东西会瞬间缩回,不需要经过大脑思考。这部分由模型的 “解码器” 负责,能每秒生成 480 次控制指令。

  • 视觉反应(30Hz):处理来自摄像头的画面。就像你看着球飞过来,用眼睛跟踪并判断落点。这部分由模型的 “编码器” 负责。

  • 智能思考(<1Hz):处理语言理解和任务规划。就像你在执行任务时,还能分心听一下队友的指令或者自己琢磨一下策略。这部分速度最慢,但赋予了机器人更高的智能。

通过分析与实验,这个框架下一步规划最高能以 480Hz 的频率生成机器人控制信号;这个速度,已经摸到了实现基于力反馈进行控制的门槛。

未来展望

机器人有没有可能达到 “又聪明又快” 的效果?这篇文章只是一个起点。针对未来不断增加中的边缘计算算力,研究者展望了更进一步的可能性:

  • “眼睛” 最快能有多快?从 30fps 到 60fps,甚至 120fps,是否有更多的任务变得可行?

  • “大脑” 最大能有多大?在实时性约束下,我们是否可以从 3B 模型,走向 7B,13B 模型,甚至更大模型?

  • “反应” 速度的极限在哪里?在 VLA 框架下,我们是否还可以建立亚毫秒、甚至微秒级的反馈回路?

从这篇文章出发,一个能够参与实时控制 VLA 的世界的大门正在被打开。

上一篇:iQOO Neo11 快速上手:游戏性能稳 电池续航长
下一篇:平价咖啡将诞生新万店品牌,咖啡市场进入“质价比”时代?
免责声明:

1、本网站所展示的内容均转载自网络其他平台,主要用于个人学习、研究或者信息传播的目的;所提供的信息仅供参考,并不意味着本站赞同其观点或其内容的真实性已得到证实;阅读者务请自行核实信息的真实性,风险自负。